找回密码
 立即加入

QQ登录

只需一步,快速开始

查看: 1430|回复: 8

汉中一处战略地图位置有误

[复制链接]
发表于 2011-10-31 10:35:29 | 显示全部楼层 |阅读模式
本帖最后由 shushen1818 于 2011-11-6 15:03 编辑

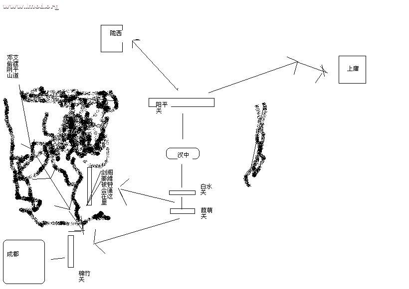
如题,战略地图做得其实很不错,但是美中不足之处就是汉中和阳平关的位置有差错了,其实这差错来源于三国10和11,三国9的地图是对的。话说阳平关有失,则汉中不保,而诸葛屯兵汉中,而后出阳平关北上,所以第一,阳平关在汉中上面,而不是西面。第二,阳平关是汉中屏障,不得阳平关是碰不到汉中地的,而现在的战略地图可以看到,从上庸可以直接打汉中,显然不正确了。另外剑阁之所以叫剑阁,其实他不是关隘,只是一个屯兵之所,进出只有一门,所以钟会才会把姜维逼在那里无法进出。把剑阁作为东西两川的分隔屏障之关隘,也不正确。希望2.0的时候柱子大大们能做下修改,还原历史,精品极至。或者会修改战略地图的朋友也可以帮下忙做个修改补丁。本人自画一草图请各位过目。 未命名1.JPG 地图.JPG


我仔细重新分析了下地图,发现汉中郡是很大的,确实是在武都郡的右下一侧,但汉中城应该是现在汉中市的位置,此城应该确确实实是在阳平关以下。略微修改了下草图 地图.JPG

评分

参与人数 1金币 +200 收起 理由
freefen + 200 分析得很好啊

查看全部评分

发帖求助前要善用【网站搜索】功能,那里可能会有你要找的答案

中华MOD网推荐搜索:https://kan.1mod.org/

中华MOD网新浪微博:https://weibo.com/1mod

中华MOD网推荐浏览器点击我下载

中华MOD网腾讯微信:All1mod 或首页左边

中华MOD网游戏帮助Q群:218311682

发表于 2011-10-31 11:41:11 | 显示全部楼层
支持下 回头 向领导汇报下 {:soso_e176:},这些知识 我没研究

发帖求助前要善用【网站搜索】功能,那里可能会有你要找的答案

中华MOD网推荐搜索:https://kan.1mod.org/

中华MOD网新浪微博:https://weibo.com/1mod

中华MOD网推荐浏览器点击我下载

中华MOD网腾讯微信:All1mod 或首页左边

中华MOD网游戏帮助Q群:218311682

发表于 2011-10-31 11:55:59 | 显示全部楼层
支持下 回头 向领导汇报下

发帖求助前要善用【网站搜索】功能,那里可能会有你要找的答案

中华MOD网推荐搜索:https://kan.1mod.org/

中华MOD网新浪微博:https://weibo.com/1mod

中华MOD网推荐浏览器点击我下载

中华MOD网腾讯微信:All1mod 或首页左边

中华MOD网游戏帮助Q群:218311682

发表于 2011-10-31 12:08:54 | 显示全部楼层
应该还有个子午谷,从汉中通往长安的

发帖求助前要善用【网站搜索】功能,那里可能会有你要找的答案

中华MOD网推荐搜索:https://kan.1mod.org/

中华MOD网新浪微博:https://weibo.com/1mod

中华MOD网推荐浏览器点击我下载

中华MOD网腾讯微信:All1mod 或首页左边

中华MOD网游戏帮助Q群:218311682

发表于 2011-10-31 12:35:07 | 显示全部楼层
我记得三国演义中还有一个邓艾那个啥啥啥的,走了条超级小的小道,才打下了蜀国

发帖求助前要善用【网站搜索】功能,那里可能会有你要找的答案

中华MOD网推荐搜索:https://kan.1mod.org/

中华MOD网新浪微博:https://weibo.com/1mod

中华MOD网推荐浏览器点击我下载

中华MOD网腾讯微信:All1mod 或首页左边

中华MOD网游戏帮助Q群:218311682

 楼主| 发表于 2011-10-31 12:39:07 | 显示全部楼层
本帖最后由 shushen1818 于 2011-10-31 12:39 编辑
Castle 发表于 2011-10-31 12:08
应该还有个子午谷,从汉中通往长安的


正解,不过那确实只是条小道,该怎么走恐怕只有魏文长知道,我们就不画了吧{:soso_e120:}

发帖求助前要善用【网站搜索】功能,那里可能会有你要找的答案

中华MOD网推荐搜索:https://kan.1mod.org/

中华MOD网新浪微博:https://weibo.com/1mod

中华MOD网推荐浏览器点击我下载

中华MOD网腾讯微信:All1mod 或首页左边

中华MOD网游戏帮助Q群:218311682

 楼主| 发表于 2011-10-31 12:40:02 | 显示全部楼层
骠骑冠军侯 发表于 2011-10-31 12:35
我记得三国演义中还有一个邓艾那个啥啥啥的,走了条超级小的小道,才打下了蜀国 ...

就是我画上的,阴平山道

发帖求助前要善用【网站搜索】功能,那里可能会有你要找的答案

中华MOD网推荐搜索:https://kan.1mod.org/

中华MOD网新浪微博:https://weibo.com/1mod

中华MOD网推荐浏览器点击我下载

中华MOD网腾讯微信:All1mod 或首页左边

中华MOD网游戏帮助Q群:218311682

 楼主| 发表于 2011-10-31 12:42:32 | 显示全部楼层
freefen 发表于 2011-10-31 11:41
支持下 回头 向领导汇报下 ,这些知识 我没研究

多谢多谢,为了三国全战,咱们有钱出钱,有力出力,有话出话{:soso_e121:}

发帖求助前要善用【网站搜索】功能,那里可能会有你要找的答案

中华MOD网推荐搜索:https://kan.1mod.org/

中华MOD网新浪微博:https://weibo.com/1mod

中华MOD网推荐浏览器点击我下载

中华MOD网腾讯微信:All1mod 或首页左边

中华MOD网游戏帮助Q群:218311682

发表于 2011-10-31 12:46:36 | 显示全部楼层
骠骑冠军侯 发表于 2011-10-31 12:35
我记得三国演义中还有一个邓艾那个啥啥啥的,走了条超级小的小道,才打下了蜀国 ...

阴平小道。

发帖求助前要善用【网站搜索】功能,那里可能会有你要找的答案

中华MOD网推荐搜索:https://kan.1mod.org/

中华MOD网新浪微博:https://weibo.com/1mod

中华MOD网推荐浏览器点击我下载

中华MOD网腾讯微信:All1mod 或首页左边

中华MOD网游戏帮助Q群:218311682

您需要登录后才可以回帖 登录 | 立即加入

本版积分规则

关闭

站长推荐上一条 /2 下一条

QQ|Archiver|手机版|手机专用客户端|中华MOD官网

GMT+8, 2026-4-8 01:05

Powered by Discuz! X3.5

© 2001-2026 Discuz! Team.

快速回复 返回顶部 返回列表